

| 油壓缸內徑 Bore sizes of cy linder(mm) | Φ25、Φ32、Φ40、Φ50、Φ63、Φ80、Φ100、Φ125 |
| 行程范圍 Route of travel scope(mm) | 1-500 (行程超過500mm請與我司業務部聯系) |
| 工作媒介 Power fluid | 以濾清之標準液壓油 Filtered oil |
| 缸管材質 Material of cylinder bareel | 碳鋼管 Carbon steel pipe |
| 使用壓力范圍 The range of pressure(Mpa) | 0.3-16Mpa (3-160kg/cm2) |
| 使用溫度范圍 The range of temperature(℃) | -10°~+150°(C) |
| 行程公差(mm) | ±1 |
| ||||
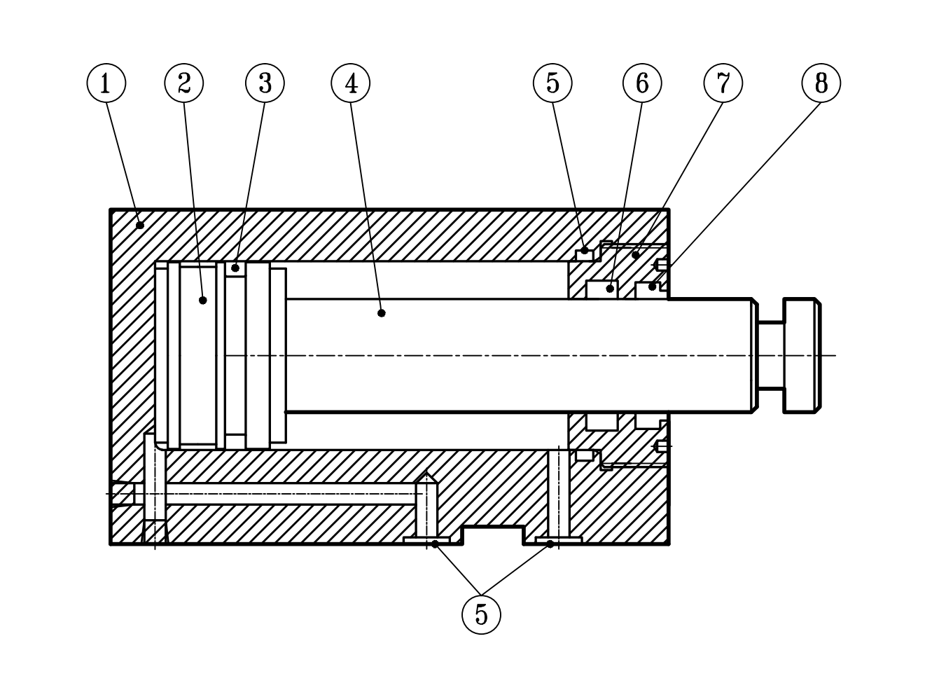
| No | 零件名 Part name | 數量 Quantity | No | 零件名 Part name | 數量 Quantity | No | 零件名 Part name | 數量 Quantity |
| 1 | 油缸本體 Cylinder tude | 1 | 4 | 活塞桿 Piston rod | 1 | 7 | 前蓋 Rod plate | 1 |
| 2 | 活塞本體 Piston | 1 | 5 | O型圏 O-rings | 1 | 8 | 刮塵環 Dust wiper | 1 |
| 3 | 活塞環 Piston packing | 1 | 6 | 刮油環 Rod packiog | 1 |
訂購:ja