

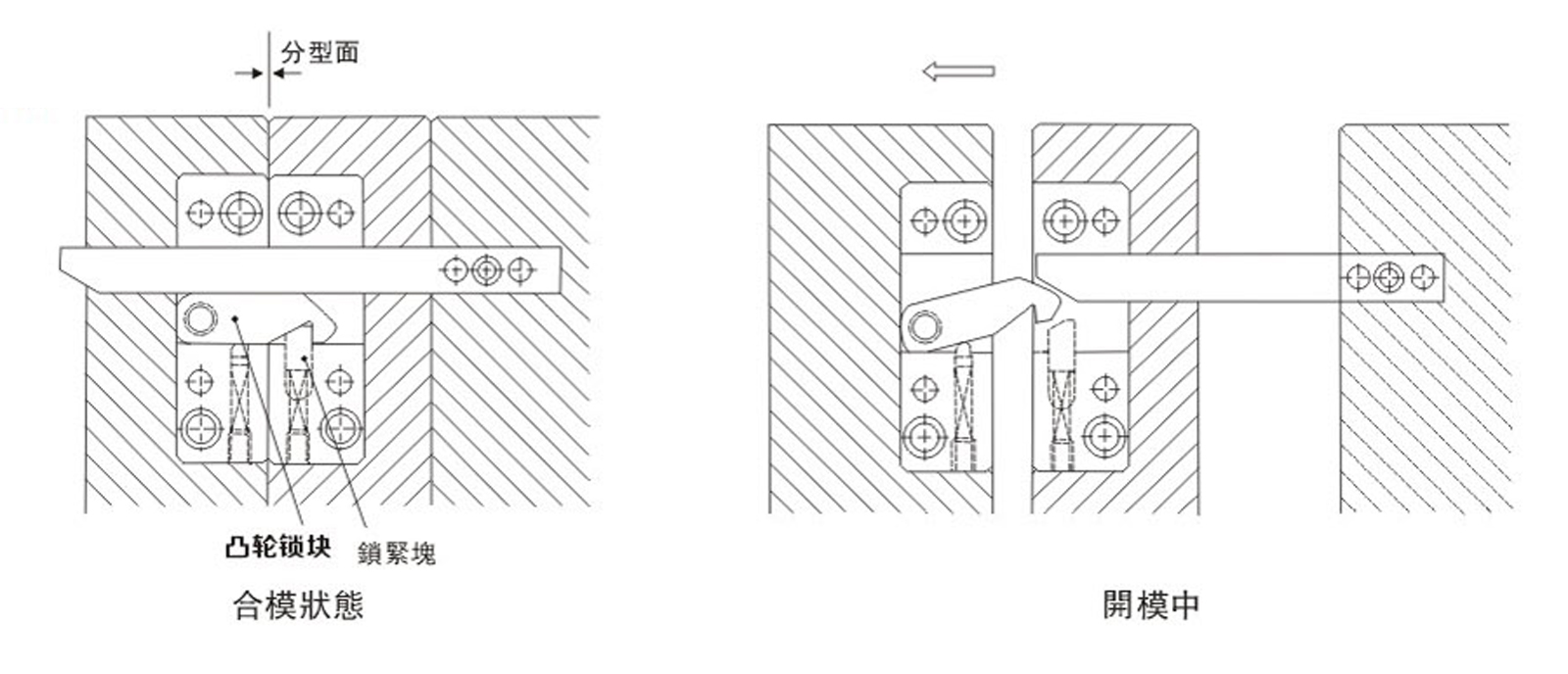
此款産品結構小, 正確開模, 無反作用力。 完全沒有鎖模負載, 可用于低壓鎖模成形 。 其動作與合模順序無關 。 流道板先于分型面閉合時,鎖緊塊起到後退功能。
lt with small frame, but open mold exactly and no
counteractive.no lock load,apply to low pressure lock molding.
It's action irrespective of compound molding sequence. Locking blocks have back function when hot runner plate close before devide face.

| Type | 滑塊座 凸輪座 | 墊板 | 插銷 | 墊片 | ||||||||||||||||||
| A | A1 | A2 | A3 | A4 | B | B1 | B2 | C | C1 | C2 | W | U | 螺栓孔 M | d | t | Wl | W2 | T | L | ST | SL | |
| PPLS (輕負載用) | 68 | 61.5 | 55 | 19 | 7 | 26 | 19 | 7 | 24 | 17 | 7 | 20 | 8 | M6 | ¢6 | 6 | 13 | 5.9 | 7 | 250 | 6.5 | 40 |
| PPLM (中負載用) | 88 | 79 | 70 | 24 | 9 | 38 | 29 | 9 | 30 | 21 | 9 | 30 | 12 | M8 | ¢8 | 7 | 16 | 8 | 10 | 300 | 8 | 50 |
| PPLL (重負載用) | 104 | 93 | 82 | 27 | 11 | 48 | 37 | 11 | 38 | 27 | 11 | 45 | 20 | M10 | ¢10 | 8 | 20 | 9.5 | 15.5 | 350 | 10.2 | 55 |
訂購:121-鎖模扣 PPL